
1960 年,深海潛水艇的里雅斯特下降 10,916 米(35,814 英尺),到達海洋最深處的馬里亞納海溝底部。附在的里雅斯特的外部是勞力士深海特別版,這是一款帶有巨大氣泡水晶的手表的巨大原型,專為前往海底旅行而設計。它奏效了:潛水后,發現深海特別號處于完美的工作狀態(現在,深海特別號 3 號,也就是參加這次旅行的那個,位于史密森尼博物館的收藏中)。

今天,勞力士通過推出新的深海挑戰賽,繼續其深海探險的傳統。它采用勞力士所謂的 RLX 鈦金屬制成——這使其成為該品牌的第一款全鈦手表——防水深度高達 11,000 米(36,090 英尺)。這里有兩個故事:防水和鈦。讓我們從弄濕開始。 深入原型深海挑戰
早在 2013 年,Hodinkee 就拍攝了一些原始 Deepsea Challenge 的照片,該挑戰伴隨 James Cameron 到達了馬里亞納海溝的底部?;舳』淖x者甚至有機會親眼目睹。在這里查看。 ?
從 Submariner(1953 年)到 Sea-Dweller(1967 年)到 Deepsea(2008 年)再到 Deepsea Challenge(今天),我們一直都知道勞力士非常重視防水性能。真的,這不是我們第一次看到“深海挑戰”這個名字——那是在 2012 年,當時勞力士為阿凡達制作了原型電影制片人詹姆斯卡梅隆獨自潛入馬里亞納海溝。這只表只用了八周時間就完成了,但它完成了卡梅隆和勞力士希望它做的事情:它在潛水中幸存下來,證明勞力士具有防水能力,可以制造出能夠承受真正海底壓力的手表. 然而,那只手表仍處于試驗階段,尚未準備好進行大規模生產。今天的深海挑戰是十年前原始實驗的商業代表。



新的 Deepsea Challenge 直徑為 50 毫米,厚度為 23 毫米(其中,9.5 毫米是藍寶石水晶)。勞力士將 Deepsea Challenge 測試到其額定實際防水性能的 125%(即 13,750 米),并與長期合作伙伴 Comex 開發了一種增強型高壓水箱來測試這種防水性(詹姆斯將更深入地研究該品牌的測試過程在后續文章中)。這將花費你 26,000 美元。 當勞力士深海特別號 1 以 200 萬美元售出
就在去年,兩枚勞力士深海特價腕表被拍賣。Deep Sea Special No. 1(上圖),在佳士得以 190 萬瑞士法郎售出。這是 Jacques Piccard 和 Don Walsh 在早期潛水時附在的里雅斯特上的勞力士,在 3 號進入馬里亞納海溝底部進行創紀錄的潛水之前(3 號有更大的水晶)。雖然它是一塊大手表,但它的前所有者 Talking Watches 獸醫Reza Ali Rashidain向詹姆斯證實它非常適合佩戴,并說他經常佩戴它,“即使只是出去吃午飯?!?在這里查看去年關于深海特輯的完整故事。?
從角度來看,目前的勞力士 Deepsea 的額定深度為 3,900 米,因此 Deepsea Challenge 的額定深度約為三倍(相比之下,今年早些時候推出的 Omega Ultra Deep的額定深度為 6,000 米)。
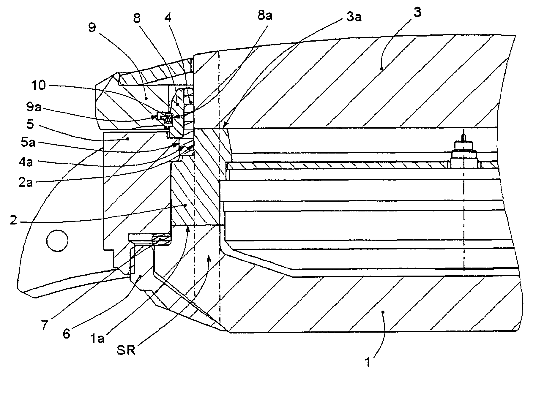
一些核心技術使 Deepsea Challenge 達到了 11,000 米的防水等級。首先是 Crown 的專利 Ringlock 系統。作為一名前律師,曾試圖在法學院為一位朋友/客戶申請專利(但很快被拒絕),他認為他開發了一種完全獨特而新穎的啤酒發酵工藝(事實證明我們錯了,但是啤酒味道還不錯),直到找到勞力士 Ringlock 專利申請,我才滿意,所以這里是:2007 年勞力士申請的“密封腕表表殼”——不是新技術,但仍然值得強調。?

勞力士環形鎖系統的圖片,來自 2007 年的專利申請。
基本上,Ringlock 是表殼內的不銹鋼內環,水晶安裝在一側,鈦底蓋在另一側。這是為了通過將手表水晶上的壓力轉移到這個堅固的內圈來減少表殼上的壓力(由于水晶的表面積如此之大,當手表深入水下時,會對它施加很大的力)。由于 Ringlock 首當其沖承受壓力,因此表殼本身可以比其他情況下更薄。事實上,在專利中,勞力士表示,這正是他們試圖解決的問題,并在專利申請中寫道,“制造密封腕表表殼時會出現的問題,這種表殼可以抵抗非常深的深度,通常是在 3,000 到 5,000 米之間,尤其是它的厚度。” 是的,Deepsea Challenge 是一塊厚厚的鈦,但沒有 Ringlock,它會是一塊更厚的鈦。有了 Ringlock,Deepsea Challenge 是一款比我更認真的潛水員(或者,至少是手腕更嚴重的人)可以佩戴的手表。



與它的祖先——Sea-Dweller 和 Deepsea——一樣,Deepsea Challenge 也使用了一個氦氣排放閥,可以讓氦分子安全地逸出,而不是從手表的最薄弱點吹出(比如打碎水晶)。勞力士早在 1967 年就為該機制申請了專利,并且它仍然在其更嚴肅的專業潛水表中盡職盡責。
在 Deepsea Challenge 上要注意一個有趣的區別:與 Sea-Dweller 或 Deepsea 不同,它沒有日期。與最初為在 SEALAB 中一次在海底停留數天的潛水員設計的 Sea-Dweller 不同,Deepsea Challenge 是為短期深潛而設計的,例如 Cameron 的海底探險馬里亞納海溝 – 無需知道日期,您只需一次測試幾個小時的人類(和制表)極限。
好的,另一個重大新聞:Deepsea Challenge 由鈦制成,這是 Crown 的第一款全鈦手表。它使用 5 級鈦,一種還包括鋁和釩的合金。我將在即將到來的周末版中多談一點鈦,但也許在這里使用鈦的主要原因是實用的:當你制作這么大的手表時,使用比鋼更輕的金屬使它變得如此之大更耐磨。鈦比鋼輕 40%:Deepsea Challenge 重 251 克;在鋼中,它的重量會更像 350 克。

正如您可能已經知道的那樣,鈦比鋼更難加工,最值得注意的是因為它具有一種稱為低彈性模量的東西,工程師說它有點容易彎曲和變形(例如,比鋼更容易) . 勞力士表示,雖然專門開發 Deepsea Challenge 歷時三年,但它一直在研究和試驗鈦金屬的時間要長得多。事實上,2007 年的 Ringlock 專利多次明確提到使用鈦。在最初的 Deepsea 上實施 Ringlock 長期以來一直使用鈦金屬底蓋,因為它的靈活特性使其能夠承受極端深度的壓力——這是“彎曲但不要折斷”的經典例證。 廣告我們的想法
幾周前,我有機會在日內瓦看到并佩戴了新的 Deepsea Challenge。很明顯,它不適合我——我戴著一塊 34 毫米的 1950 年代勞力士參加與公司研發負責人的會面,他認為這很古怪,原因有很多,主要是因為表盤上唯一的意思是“震驚-反抗?!?nbsp;有點像今天向福特高管展示 Model T。勞力士使用它的表盤來證明任何特定手表的所有令人難以置信的技術壯舉,而 Deepsea 也有許多壯舉。
看看這里的手腕照片,很明顯這東西很可能會在袖口下滑落,就像我本周在世界大賽中滑入家中一樣。但無論如何,這種手表在潛水服上看起來比在西裝下更好看。勞力士提到它多年來一直在試驗鈦,它表明了這一點。鈦金屬在表殼和表鏈的大部分表面都經過精美磨砂和拉絲處理。
也許是我最喜歡的表殼細節(其他復古書呆子肯定也會喜歡):表耳采用拋光倒角,這是現代勞力士運動手表迄今為止所缺少的。這是我們可能認為理所當然的完成細節之一,但執行得非常完美,喚起了一切開始的早期海使。哦,還有另一個復古風格的細節:深海挑戰賽有一個啞光黑色表盤,賦予它真正的工具手表氛圍,這是我們今天在許多勞力士手表上看不到的另一個功能。手鐲上的 Glidelock 和 Fliplock 便于在飛行中進行調整——它可以拉伸以適合那些希望按預期使用手表的人(不是我測試過的)。Deepsea Challenge 的表耳到表耳的距離約為 61 毫米,但如果您在市場上購買額定 11,000 米的手表,那么您可能不在乎——您也沒有任何其他選擇。真的,鈦金屬確實在你腦海中起了一點作用:它是一塊大表,但一旦你拿起它,它實際上并沒有令人難以忍受的沉重。我的小手腕可能有點被直徑和厚度壓得喘不過氣來,但我發誓,我發誓,上面有 251 克鈦金屬,我可以很好地抬起我的手臂!即使對于那些“ 進入更大的手表,Deepsea Challenge 更上一層樓:目前的勞力士 Deepsea 的直徑為 44 毫米,厚度為 17 毫米。但是,請記住防水規格。深海有大約三分之一的防水性。看看我們的原型 Deepsea Challenge 的照片(上),令人印象深刻的是,勞力士設法將手表的尺寸削減了這么多,同時在技術規格方面絲毫 不妥協。

Deepsea Challenge 在表盤上的技術含量與您在任何勞力士上發現的一樣多:除了關于其運動的常見聲明(“最高級天文臺官方認證”),還有深度等級,“環鎖系統” “氦氣逃生閥”和新的 Deepsea Challenge 品牌。這甚至還沒有達到該品牌首款鈦金屬手表的地位。無論您是否會購買,甚至佩戴(甚至看到)這款手表,由于所有這些原因,它都令人印象深刻。從 1967 年(排氦閥)、2008 年(Ringlock)到今天(鈦金屬表殼),它都采用了勞力士技術。
勞力士為未來所做的微妙進軍通常會做出很多事情,進行細微的調整和改進,但從不一次改變太多。但是,當您放大并查看其整個存在的模型系列時——在這種情況下,海使型及其 55 年的生產——你開始了解勞力士的全部意義。Sea-Dweller 一直致力于挑戰海洋的深度,而 Deepsea Challenge 只是其中的下一步,生產出真正被評為海底的手表(馬里亞納海溝的最大深度為 10,984 米) ,被稱為挑戰者深)。

倒角!
值得一提的是——但不能比較——帝舵 Pelagos,這是一款鈦金屬潛水表,自 2012 年以來在生產中具有廣泛的吸引力(它的吸引力在今年隨著Pelagos 39 的推出而變得更廣泛)。與 Pelagos 不同,Deepsea Challenge 是一款腕表的超級跑車,將品牌當前的所有潛水表技術(好吧,我們所知道的所有技術)都投入到一個新的、規范的鈦合金包裝中,該包裝已被推向最大,同時仍為大規模生產而設計。當然,勞力士的第一款鈦金屬手表會有很多人問“下一步是什么?”?但是勞力士在這個星球上技術最強大的潛水表中引入了一種新材料。
當然,實際上使用 Deepsea Challenge 的絕對香蕉深度等級對我們大多數人來說仍然是理論上的。但對于認真的愛好者來說,這是一次嚴重的升級,它的有效深度等級比其最深的潛水競爭對手歐米茄超深潛水表的有效深度等級提高了一倍,歐米茄超深潛水表僅在六個月前推出,并且已經具有荒謬的深度等級。直到現在,像 1960 年的原始勞力士 Deepsea Special、2012 年卡梅隆的 Deepsea Challenge原型和 Omega Ultra Deep 原型等原型是唯一到達真正海底的手表,前往馬里亞納海溝的底部。現在,勞力士推出了一款用于商業生產的手表這被評為相同的深度。能夠批量生產具有這種技術能力的手表是一項工程壯舉,無論表殼尺寸如何。?
除此之外,該品牌對推動自身技術極限的持續承諾也許是最令人興奮的。對于一個在 50 年代首先為潛水員制造 Submariner,然后在 60 年代為 SEALAB 居民制造 Sea-Dweller 的品牌,Deepsea Challenge 是故事的下一章。

